OPPO公布折叠手机新专利 延长使用寿命
OPPO公布了一项折叠手机的新专利,旨在延长其使用寿命,这项专利采用了先进的材料和设计,提高了折叠屏幕的耐用性和稳定性,使其在频繁折叠和展开的过程中更加可靠,这一创新将有助于推动折叠屏技术的普及和发展,为用户带来更加便捷和灵活的设备使用体验。
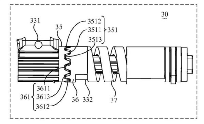
OPPO近期公布了一项名为“扭力组件、折叠装置及电子设备”的专利,申请公布号为CN119616991A。根据天眼查数据显示,该专利涉及可弯折结构技术领域,旨在通过创新设计提升折叠设备的使用体验和耐用性。
专利中的扭力组件包括主动件、被动件、第 一啮合件、第二啮合件和复位件,通过独特的啮合机制,第 一啮合件与第二啮合件能够在多个啮合位置之间切换,实现分级悬停功能。这一设计不仅使折叠设备的灵活性得到了提升,还显著降低了部件的磨损率,从而延长了设备的使用寿命。
分级悬停功能使得用户可以根据需求将设备停在不同角度,无论是观看视频、进行视频通话还是多任务操作,都能提供更加便捷的体验。此外,该专利还通过减少部件的持续磨损,增强了折叠设备的可靠性和耐用性,展示了OPPO在折叠屏技术领域的持续创新和领先地位,为未来折叠设备的发展提供了新的方向。
